Advertisement

2004 Dodge Neon Rear Suspension Diagram - Neon Brake Upgrades | Dodge Neon ACR | Project Car Updates ... / W/all suspension (sdc, sdf, sdk0 (zat, znt) tag# 283.

2004 Dodge Neon Rear Suspension Diagram - Neon Brake Upgrades | Dodge Neon ACR | Project Car Updates ... / W/all suspension (sdc, sdf, sdk0 (zat, znt) tag# 283.. Moog parts are some of the best suspension parts you can buy for your dodge neon. Find great deals on ebay for 2004 dodge neon suspension. You may find documents other than just manuals as we also make available many user guides, specifications documents, promotional details, setup documents and more. We found 41 dodge neon 2000 car sevice workshop repair manuals. Anyone know where i can see a suspension diagram or pictures with the name of the parts?

2005 dodge dakota front suspension diagram fresh dodge dakota 45rfe. Dodge chrysler oem 02 08 ram 1500 front lower ball joint 5072958ac. All electrical components used in a specific system are shown on one diagram. Modified macpherson strut rear suspension. Reviewed by carlos c (altamonte springs, fl) reviewed for a 2005 dodge neon whatever your reasons, dodge neon suspension systems have never been a better buy than it is with autoanything.

2004 Dodge Neon ESR Sr02 Eibach Lowering Springs | Fitment ...
2004 Dodge Neon ESR Sr02 Eibach Lowering Springs | Fitment ... from images.fitmentindustries.com
We have the following 2004 dodge neon manuals available for free pdf download. Manuals and user guides for dodge 2004 neon srt4. Suspension problem 1998 dodge neon 4 cyl front wheel drive automatic. Learn how to change the rear drums and shoes on a 2004 dodge neon. Dodge & plymouth neon 2000 thru 2005 (haynes repair manual). I have a stumble in the engine and while doing an oil change and usual inspection i found that anyone with a 2004 automatic please check and please tell me where the plug is located in the harness. Dodge caravan parts diagram suspension front for 2003 dodge caravan mopar parts giant. Contains 18 parts priced between $2.17 and $338.68.

Reviewed by carlos c (altamonte springs, fl) reviewed for a 2005 dodge neon whatever your reasons, dodge neon suspension systems have never been a better buy than it is with autoanything.

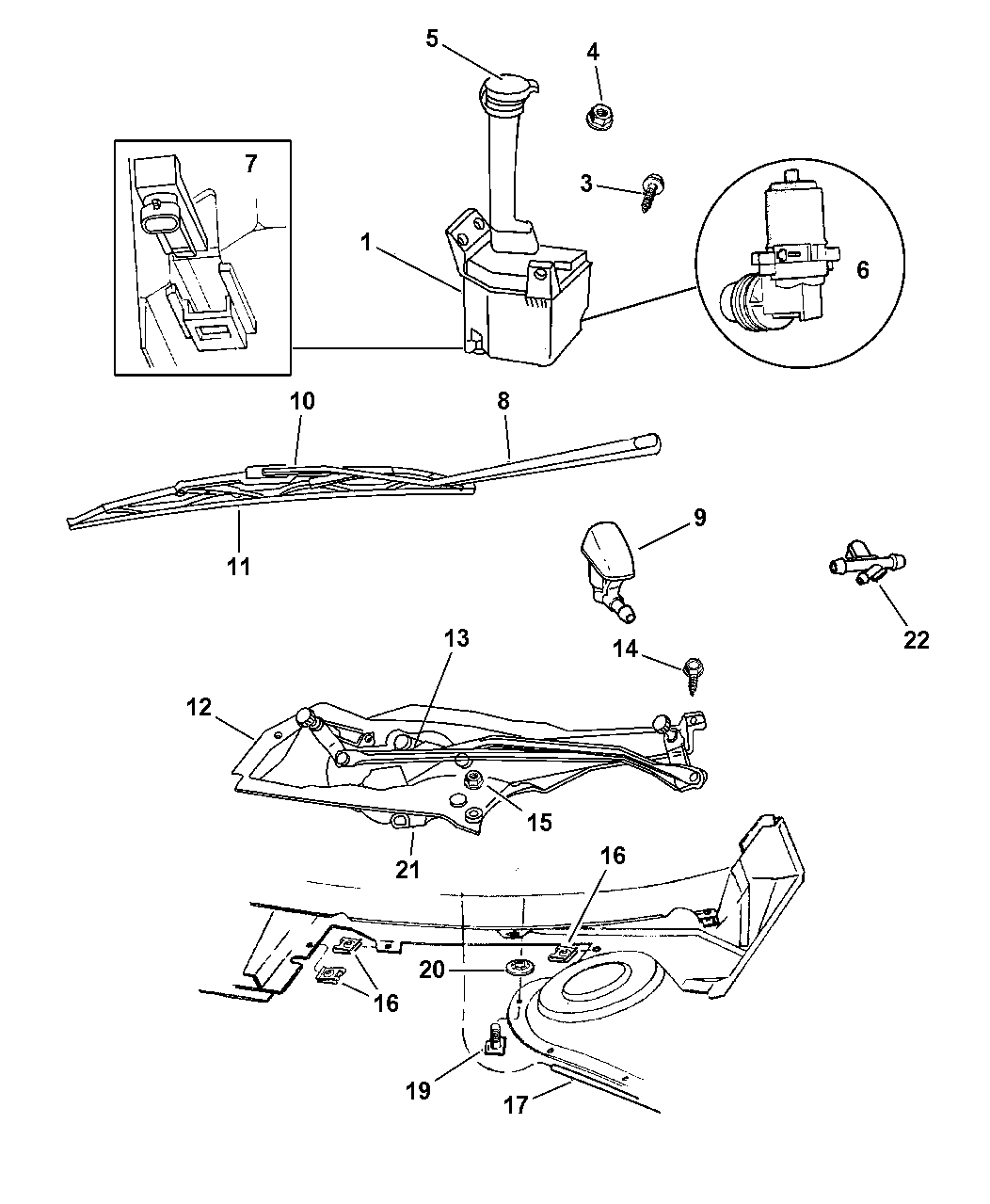
You may find documents other than just manuals as we also make available many user guides, specifications documents, promotional details, setup documents and more. All electrical components used in a specific system are shown on one diagram. Also i would need a good diagram of the axle assembly if it is the axle so i. Many other cars with rear drum/shoe setups are similar or the same.check out my web site! Dodge chrysler oem 02 08 ram 1500 front lower ball joint 5072958ac. New complete 10 pc front suspension kit for chrysler dodge neon pt cruiser (fits: Dodge neon rear motorshow focus. See what other customers are saying about moog parts. Diagram of oem suspension, rear. Find great deals on ebay for 2004 dodge neon suspension. Front and rear jounce travel was increased by 15% and 30% for a smoother ride and less chance of bottoming. Here you will find fuse box diagrams of dodge neon 2005, get. 2004 dodge neon rear suspension diagram :

Many other cars with rear drum/shoe setups are similar or the same. Here you will find fuse box diagrams of dodge neon 2005, get. Many other cars with rear drum/shoe setups are similar or the same.check out my web site! The feed for a system is shown at the top of the. Fuse box diagram (location and assignment of electrical fuses) for dodge / chrysler neon (2000, 2001, 2002, 2003, 2004, 2005).

new rattle/clunking in rear end... - 2GN.ORG
new rattle/clunking in rear end... - 2GN.ORG from i694.photobucket.com
2005 dodge dakota front suspension diagram fresh dodge dakota 45rfe. February 4th, 2010 derek price leave a comment go to comments. I need to know how these parts look and where the are exactly; Learn how to change the rear drums and shoes on a 2004 dodge neon. I have a 2004 neon se automatic transmission. Dodge 2004 neon srt4 pdf user manuals. Components that work together are shown together. 2003 2007 dodge ram 3 4 1 ton 4wd front end rebuild part 1 youtube.

Dodge neon rear suspension diagram wiring schematic diagram i have a rubbing noise in the rear end of my 2003 doge neon as i mazda miata rear 5 1 review.

Check out the latest top trucks report! Making the suspension firmer would rattle some people's spines, but it also would make the neon's handling. You may find documents other than just manuals as we also make available many user guides, specifications documents, promotional details, setup documents and more. Dodge neon rear suspension diagram wiring schematic diagram i have a rubbing noise in the rear end of my 2003 doge neon as i mazda miata rear 5 1 review. Crown automotive is just the ticket if. Front and rear jounce travel was increased by 15% and 30% for a smoother ride and less chance of bottoming. 2003 2007 dodge ram 3 4 1 ton 4wd front end rebuild part 1 youtube. Also i would need a good diagram of the axle assembly if it is the axle so i. Modified macpherson strut rear suspension. Components that work together are shown together. Manuals and user guides for dodge 2004 neon srt4. Learn how to change the rear drums and shoes on a 2004 dodge neon. The feed for a system is shown at the top of the.

We found 41 dodge neon 2000 car sevice workshop repair manuals. See what other customers are saying about moog parts. Making the suspension firmer would rattle some people's spines, but it also would make the neon's handling. Dodge chrysler oem 02 08 ram 1500 front lower ball joint 5072958ac. Neon fuse diagram ebl 2003 dodge neon belt routing 2003 dodge neon transmission problems emissions parts.com® | dodge rear suspension brake components.

Repair Guides
Repair Guides from repairguide.autozone.com
Moog parts are some of the best suspension parts you can buy for your dodge neon. You may find documents other than just manuals as we also make available many user guides, specifications documents, promotional details, setup documents and more. 600 x 414 gif 8kb. I have a stumble in the engine and while doing an oil change and usual inspection i found that anyone with a 2004 automatic please check and please tell me where the plug is located in the harness. Manuals and user guides for dodge 2004 neon srt4. Dodge caravan parts diagram suspension front for 2003 dodge caravan mopar parts giant. 2005 dodge dakota front suspension diagram fresh dodge dakota 45rfe. Dodge & plymouth neon 2000 thru 2005 (haynes repair manual).

Also i would need a good diagram of the axle assembly if it is the axle so i.

Making the suspension firmer would rattle some people's spines, but it also would make the neon's handling. Many other cars with rear drum/shoe setups are similar or the same. Dodge neon rear motorshow focus. 2003 2007 dodge ram 3 4 1 ton 4wd front end rebuild part 1 youtube. Many other cars with rear drum/shoe setups are similar or the same.check out my web site! February 4th, 2010 derek price leave a comment go to comments. Front and rear jounce travel was increased by 15% and 30% for a smoother ride and less chance of bottoming. Also i would need a good diagram of the axle assembly if it is the axle so i. Detailed specs and features for the used 2004 dodge neon including dimensions, horsepower, engine, capacity, fuel economy, transmission, engine type, cylinders, drivetrain and more. Contains 18 parts priced between $2.17 and $338.68. 2004 dodge neon rear suspension diagram : I need to know how these parts look and where the are exactly; You can buy complete dodge neon air suspensions, or even individual components to build the perfect dodge neon air suspension system for your vehicle.

Posting Komentar

0 Komentar